ZJHQ/ZJHX 氣動薄膜三通調節閥采用圓筒型薄壁窗口形閥芯導向,不同于柱塞形閥芯的襯套導向。配用多彈簧執行機構,具有結構簡單、重量輕、體積小、拆裝方便等優點。廣泛應用于精確控制氣體、液體等介質的工藝參加如壓力、流量、溫度、液位保持在給定值。適合于把一種流體通過三通閥分成二路流出或理把兩種流體經三通閥合并成一種流體的場合。
本系列產品有三通合流及三通分流兩種。公稱壓力有PN16、40、64;公稱通徑范圍DN25—300。適用流體溫度由-60℃至+450℃。泄漏量標準為Ⅳ級。流量特性有直線、拋物線兩種。
二、主要零件材料及推薦使用溫度范圍
| 零件名稱 | 材料 | 溫度范圍 |
閥 體 上下閥蓋 | HT200 | -20~200℃ |
| ZG230-450 | -40~450℃ |
| ZG1Cr18Ni9Ti | -250~550℃ |
| 閥芯、閥座、閥桿 | 1Cr18Ni9 | -250~550℃ |
| 密封墊 | 橡膠石棉板 | |
| 不銹鋼纏繞墊 | |
| 填料 | 聚四氟乙烯 | |
| 上下膜蓋 | A3鋼板 | |
| 膜片 | 35CrMoA | |
| 35、A3 | |
| 支架、頂盤 | HT200 | |
| 壓縮彈簧 | 60Si2Mn | |
| 波紡薄膜 | 5806膠夾480D尼龍66網眼布 | |
三、ZJHQ/ZJHX氣動薄膜三通調節閥--主要技術參數
| 閥座直徑mm | 合流 | 25 | 32 | 40 | 50 | 65 | 80 | 100 | 125 | 150 | 200 | 250 | 300 |
| 分流 | 25 | 32 | 40 | 50 | 65 | 80 | 100 | 125 | 150 | 200 | 250 | 300 |
額定流量 系數kv | 合流 | 8.5 | 13 | 21 | 34 | 52 | 85 | 125 | 210 | 340 | 535 | 800 | 1260 |
| 分流 | 25 | 32 | 40 | 50 | 65 | 85 | 125 | 210 | 340 | 535 | 800 | 1260 |
| 公稱壓力MPa | 1.6 4.0 6.4 |
| 行 程mm | 16 | 25 | 40 | 60 | 100 |
| 流量特性 | 直線 |
| 介質溫度℃ | -20~200、-40~+250(常溫型)、-40~315(中溫型) |
| 法蘭尺寸 | 鑄鐵法蘭尺寸按JB79-59,鑄鋼法蘭尺寸按JB79-59 |
| 法蘭型式 | 法蘭密封面型式按JB77-59,其中鑄鋼法蘭按光滑式,鑄鋼法蘭按凹式 |
| 閥體材質 | HT200,ZG230-450、ZG1Cr18Ni9 |
| 閥芯材質 | 1Cr18Ni9 |
| 上閥蓋型式 | 普通式(常溫型),熱片式(中溫型) |
| 可調比 | 30:1 |
| 氣源接頭 | M16×1.5 |
四、ZJHQ/ZJHX氣動薄膜三通調節閥--執行機構主要技術參數
| 型 號 | ZHA(B)-3 | ZHA(B)-4 | ZHA(B)-5 | ZHA(B)-6 |
| 有效面積cm2 | 400 | 630 | 1000 | 1600 |
| 行 程mm | 16.25 | 40 | 60 | 1000 |
| 彈簧范圍KPa | 20~100;40~200、20~60、60~100、80~240 |
五、ZJHQ/ZJHX氣動薄膜三通調節閥--性能指標
| 項目 | 不帶定位器 | 帶定位器 |
| 基本誤差% | ±6 | ±1.5 |
| 回差% | 5 | 1.5 |
| 死區% | 4 | 0.6 |
| 始終點偏差% | 氣關 | 始點 | ±2.5 | ±1.5 |
| 終點 | ±6.0 |
| 氣開 | 始點 | ±6.0 |
| 終點 | ±2.5 |
| 額定行程偏差% | ±2.5 |
| 允許泄漏量L/h | 10-3×閥額定容量 |
注:一般均應帶定位器
供氣壓力 | 彈簧壓力 | 25 | 32 | 40 | 50 | 65 | 80 | 100 | 125 | 150 | 200 | 250 | 300 |
| 0.14MPa | 20-100 | 1220 | 750 | 500 | 300 | 300 | 200 | 120 | 120 | 80 | 50 | 50 | 25 |
七、ZJHQ/ZJHX氣動薄膜三通調節閥--可配附件
定位器 手輪機構 空氣過濾減壓器等
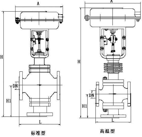
| 公通徑(mm) | 25 | 32 | 40 | 50 | 65 | 80 | 100 | 125 | 150 | 200 | 250 | 300 |
| L(mm) | PN1.6MPa | 185 | 200 | 220 | 250 | 275 | 300 | 350 | 410 | 450 | 550 | 635 | 720 |
| PN4.0MPa | 190 | 210 | 230 | 255 | 285 | 310 | 355 | 425 | 460 | 560 | 660 | 740 |
| PN6.4MPa | 200 | 210 | 235 | 265 | 295 | 320 | 370 | 440 | 475 | 570 | 670 | 770 |
| H1(mm) | PN1.6MPa | 140 | 150 | 160 | 180 | 200 | 220 | 220 | 256 | 278 | 322 | 540 | 612 |
| PN4.0MPa | 150 | 160 | 170 | 190 | 220 | 232 | 256 | 295 | 313 | 372 | 540 | 612 |
| PN6.4MPa | 160 | 170 | 180 | 200 | 220 | 242 | 266 | 300 | 318 | 382 | 540 | 612 |
| H(mm) | 普通型 | 435 | 441 | 465 | 480 | 584 | 585 | 575 | 762 | 772 | 792 | 1203 | 1234 |
| 散熱片型 | 565 | 571 | 595 | 610 | 631 | 748 | 738 | 961 | 971 | 989 | 1525 | 1554 |
| D(mm) | 285 | 360 | 470 |
| 重量(KG) | 72 | 75 | 81 | 88 | 135 | 158 | 190 | 262 | 322 | 450 | 550 | 600 |
注:公稱通徑小于80的分流閥采用同口徑的合流閥代替