1、使用范圍 結構特點: 適用于帶腐蝕性介質的輸送過程的截流,
2、根據不同材質溫度-14℃~100℃、-40℃~140℃。 全部零件采用RPP或PVDF注塑件組裝成型,
3、耐腐蝕性能優良。 密封圈采用F4。耐腐性能優異,延長使用壽命。轉動靈活、使用方便。
4、整體式球閥泄漏點少,強度高,連接式球閥裝拆方便。 球閥的安裝使用: 兩端法蘭與管路連接時,
5、要均勻擰緊螺栓,防止法蘭變形造成泄漏。 順時針方向旋轉手柄為關閉,反之為開啟。
6、只可作斷流、通流,不宜有流量調節。 含硬顆粒液體容易使球表面劃傷。
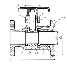
二、Q41F-10S 法蘭塑料球閥--零件材質表
| NO | 名稱 | 材質 |
| 1 | 閥體 | FRPP、PVDF、CPVC |
| 2 | 球 | FRPP、PVDF、CPVC |
| 3 | 密封圈 | PTER〈F4〉 |
| 4 | 內塞 | FRPP、PVDF、CPVC |
| 5 | 手柄 | ABS |
| 6 | 壓緊螺母 | FRPP、PVDF、CPVC |
| 7 | 密封 | PTER〈F4〉 |
| 8 | 閥桿 | FRPP、PVDF、CPVC |
| DN | D1 | D | L | d | n | ¢ | 公稱壓力 |
| HG | JIS | DIN | ANSI | HG | JIS | DIN | ANSI | HG | JIS | DIN | ANSI | PVDF | RPP |
| 15 | 95 | 65 | 70 | 65 | 60 | 100 | 14 | 4 | 4 | 4 | 4 | 14 | 15 | 14 | 16 | 1.2 | 1 |
| 20 | 105 | 75 | 75 | 75 | 70 | 120 | 16 | 4 | 4 | 4 | 4 | 14 | 15 | 14 | 16 | 1.2 | 1 |
| 25 | 115 | 85 | 90 | 85 | 80 | 140 | 16 | 4 | 4 | 4 | 4 | 14 | 19 | 14 | 16 | 1.2 | 1 |
| 32 | 135 | 100 | | | | 160 | 16 | 4 | | | | 18 | | | | 1.2 | 1 |
| 40 | 145 | 110 | 105 | 110 | 98 | 165 | 16 | 4 | 4 | 4 | 4 | 18 | 19 | 18 | 16 | 1.2 | 1 |
| 50 | 160 | 125 | 120 | 125 | 120 | 180 | 18 | 4 | 4 | 4 | 4 | 18 | 19 | 18 | 19 | 1.2 | 1 |
| 65 | 180 | 145 | 140 | 145 | 140 | 220 | 22 | 4 | 4 | 4 | 4 | 18 | 19 | 18 | 14 | 1.2 | 1 |
| 80 | 195 | 160 | 150 | 160 | 152 | 250 | 25 | 4 | 8 | 8 | 4 | 18 | 19 | 18 | 14 | 1.2 | 1 |
| 100 | 215 | 160 | 175 | 180 | 190 | 280 | 25 | 8 | 8 | 8 | 8 | 18 | 19 | 18 | 19 | 1.2 | 1 |
| 125 | 245 | 210 | 210 | 210 | 216 | 320 | 30 | 8 | 8 | 8 | 8 | 18 | 23 | 18 | 22 | 1 | 0.8 |
| 150 | 280 | 240 | 240 | 240 | 240 | 360 | 30 | 8 | 8 | 8 | 8 | 23 | 23 | 23 | 22 | 1 | 0.8 |
| 200 | 335 | 295 | 295 | 295 | 298 | 400 | 35 | 8 | 12 | 8 | 8 | 23 | 23 | 23 | 22 | 0.8 | 0.8 |
| 250 | 395 | 350 | 355 | 350 | 362 | 500 | 38 | 12 | 12 | 12 | 12 | 23 | 23 | 23 | 22 | 0.8 | 0.6 |
| 300 | 455 | 400 | 400 | 400 | 432 | 600 | 40 | 12 | 16 | 12 | 12 | 23 | 25 | 23 | 25 | 0.8 | 0.5 |

上兆閥門其他產品:
閘 閥 截止閥 球 閥 蝶 閥 緊急切斷閥 電磁閥 水力控制閥 止回閥 刀型閘閥 旋塞閥 過濾器 減壓閥 疏水閥 隔膜閥 調節閥 阻火器 呼吸閥 燃氣閥門 冶金閥門