D71F46手動對夾式襯氟蝶閥||上兆閥門重點推薦

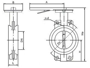
一、手動對夾式襯氟蝶閥--概述 D71F46手動對夾式襯氟蝶閥采用帶有球形密封表面的襯聚四氟乙烯包襯蝶板,配以閥座基部的 硅橡膠襯墊調節閥門的密封性能;該閥門操作輕便,嚴密的密封性能,超長的使用壽命;可作快速切斷或調節流量之用。適用于要求可靠密封和 良好調節特性的場合。閥體采用分體式,閥軸兩端的密封由蝶板與閥座 之間的旋轉基面加氟橡膠來控制;從而達到產品結構緊湊、外形美觀,工藝合理、性能可靠。保證閥軸不與腔內流體介質接觸,更換閥軸時非常方便,閥門不需要拆離管道即可完成。 | 零件名稱 | 材料 | | 上下閥體 | 鑄鐵、鑄鋼、不銹鋼、襯F46、F3 | | 閥座 | 鑄鋼 | | 帶桿蝶板 | 鑄鋼、不銹鋼、襯F46、F3 | | 填料 | F4 | | 襯墊 | 硅橡膠 | | 蝸輪手柄 | 球墨鑄鐵 |
| 公稱通經 | L | D | D1 | D2 | f | b | Z-φd | | DN(mm) | NPS(inch) | PN1.0MPa | | 40 | 3/2 | 33 | 145 | 110 | 85 | 3 | 18 | 4-φ18 | | 50 | 2 | 43 | 160 | 125 | 100 | 3 | 20 | 4-φ18 | | 65 | 5/2 | 46 | 180 | 145 | 120 | 3 | 20 | 4-φ18 | | 80 | 3 | 49 | 195 | 160 | 135 | 3 | 22 | 4-φ18 | | 100 | 4 | 56 | 215 | 180 | 155 | 3 | 22 | 8-φ16 | | 125 | 5 | 64 | 245 | 210 | 185 | 3 | 24 | 8-φ18 | | 150 | 6 | 70 | 280 | 240 | 210 | 3 | 24 | 8-φ23 | | 200 | 8 | 71 | 335 | 295 | 265 | 3 | 26 | 8-φ23 | | 250 | 10 | 76 | 390 | 350 | 320 | 3 | 28 | 12-φ23 | | 300 | 12 | 83 | 440 | 400 | 368 | 4 | 28 | 12-φ23 | | 350 | 14 | 92 | 500 | 460 | 428 | 4 | 30 | 16-φ23 | | 400 | 16 | 102 | 565 | 515 | 482 | 4 | 32 | 16-φ25 | | 450 | 18 | 114 | 615 | 565 | 532 | 4 | 32 | 20-φ25 | | 500 | 20 | 127 | 670 | 620 | 585 | 4 | 34 | 20-φ25 | | 600 | 24 | 154 | 780 | 725 | 685 | 5 | 36 | 20-φ30 | | 700 | 28 | 165 | 895 | 840 | 800 | 5 | 40 | 24-φ30 | | 800 | 32 | 190 | 1010 | 950 | 905 | 5 | 44 | 24-φ34 | | 900 | 36 | 203 | 1110 | 1050 | 1005 | 5 | 46 | 28-φ34 | | 1000 | 40 | 216 | 1220 | 1160 | 1115 | 5 | 50 | 28-φ34 | | 1200 | 48 | 254 | 1450 | 1380 | 1325 | 5 | 56 | 32-φ41 | | PN1.6MPa | | 40 | 3/2 | 33 | 145 | 110 | 85 | 3 | 18 | 4-φ18 | | 50 | 2 | 43 | 160 | 125 | 100 | 3 | 20 | 4-φ18 | | 65 | 5/2 | 46 | 180 | 145 | 120 | 3 | 20 | 4-φ18 | | 80 | 3 | 49 | 195 | 160 | 135 | 3 | 22 | 8-φ18 | | 100 | 4 | 56 | 215 | 180 | 155 | 3 | 24 | 8-φ18 | | 125 | 5 | 64 | 245 | 210 | 185 | 3 | 26 | 8-φ18 | | 150 | 6 | 70 | 280 | 240 | 210 | 3 | 28 | 8-φ23 | | 200 | 8 | 71 | 335 | 295 | 265 | 3 | 30 | 12-φ23 | | 250 | 10 | 76 | 405 | 355 | 320 | 3 | 32 | 12-φ25 | | 300 | 12 | 83 | 460 | 410 | 375 | 4 | 34 | 12-φ25 | | 350 | 14 | 92 | 520 | 470 | 435 | 4 | 38 | 16-φ25 | | 400 | 16 | 102 | 580 | 525 | 485 | 4 | 40 | 16-φ30 | | 450 | 18 | 114 | 640 | 585 | 545 | 4 | 44 | 20-φ30 | | 500 | 20 | 127 | 705 | 650 | 608 | 4 | 46 | 20-φ34 | | 600 | 24 | 154 | 840 | 770 | 718 | 5 | 54 | 20-φ41 | | 700 | 28 | 165 | 910 | 840 | 788 | 5 | 54 | 24-φ41 | | 800 | 32 | 190 | 1020 | 950 | 898 | 5 | 54 | 24-φ41 | | 900 | 36 | 203 | 1120 | 1050 | 998 | 5 | 54 | 28-φ41 | | 1000 | 40 | 216 | 1255 | 1170 | 1110 | 5 | 60 | |

上兆閥門其他產品:
閘 閥 截止閥 球 閥 蝶 閥 緊急切斷閥 電磁閥 水力控制閥 止回閥 刀型閘閥 旋塞閥 過濾器 減壓閥 疏水閥 隔膜閥 調節閥 阻火器 呼吸閥 燃氣閥門 冶金閥門
|